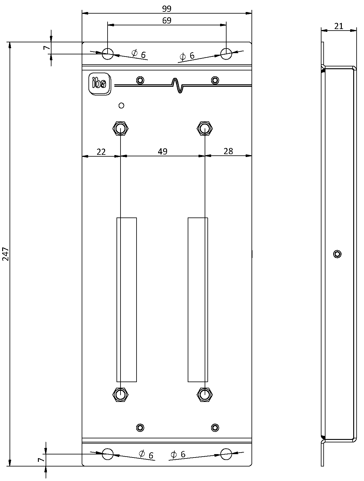
Dimensions – ibaPADU-S-B1S