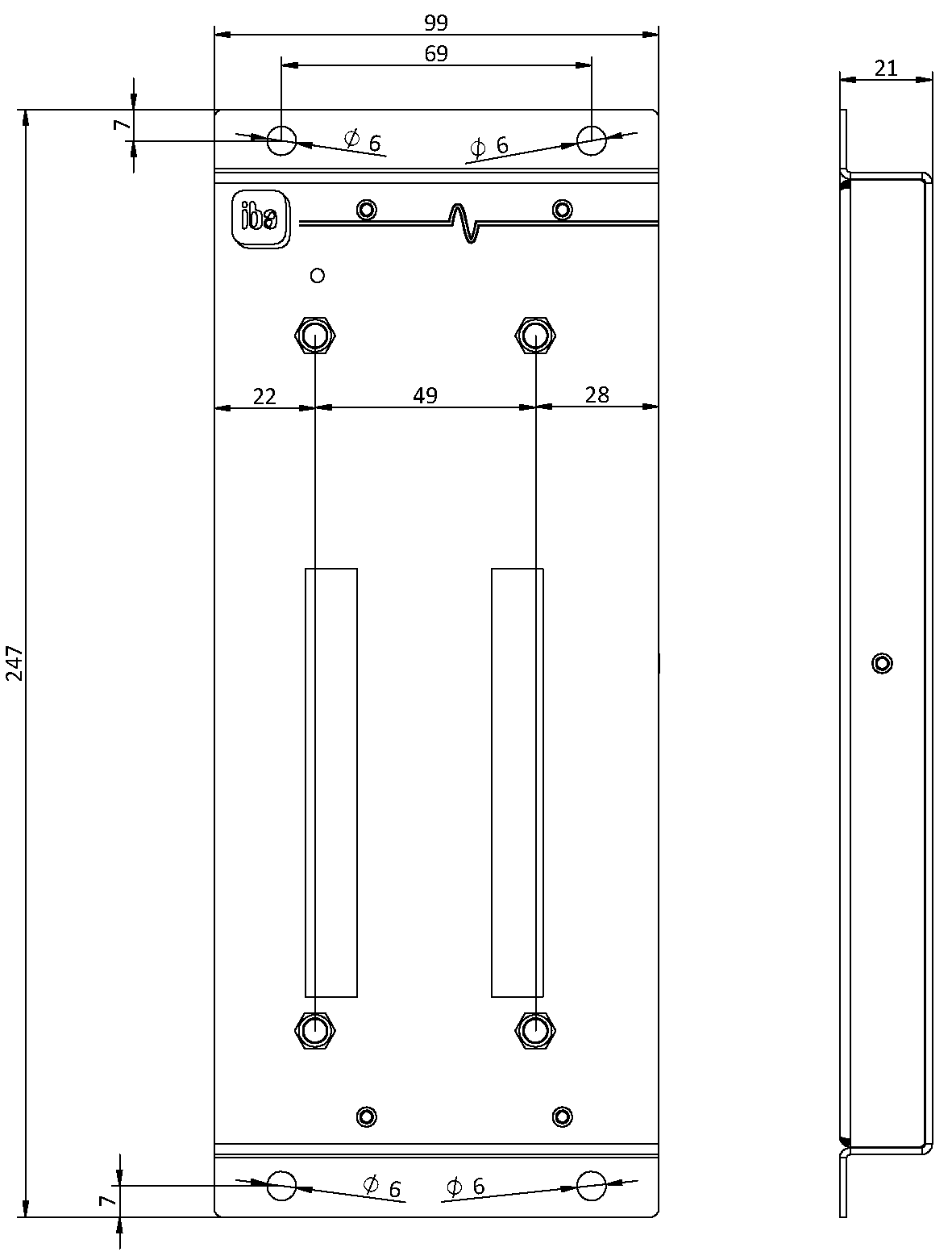
Abmessungen – ibaPADU-S-B1S